Windshield for 1993 Mercedes-Benz 400SEL
Vehicle
1993 Mercedes-Benz 400SEL
Change Vehicle
- Acceleration Skid Control (Asr)
- Adaptive Damping System (Ads)
- Apparatus Case and Control Units
- Auxiliary Heater
- Battery, Starter/Alternator Cable
- Brake Pad Wear Indicator, Abs, Asd and Electronic Traction System
- Cable Harness Belt Warning
- Cockpit Cable Harness
- Corresponding Cable Harness, in Apparatus Case
- Electric Cable Used for Rear Space Air Conditioner
- Electrical Parts Used for Transmission
- Electronic Stability Program (ESP®)
- Engine Cable Harness
- Engine Cable Harness, Body Mounted
- Frame Floor Unit Main Cable Harness
- Fuse Box and Relay
- Headlamp Cable Harness
- Horn
- Ignition System
- Inboard Cable Harness & Belt Warning Device
- Instrument Cluster
- Loom Ties and Cable Mounting Parts
- On-Board Computer
- Overheat Warning Indicator and Belt Warning
- Parametric Steering
- Rear Axle Wiring
- Tail Lamp Cable Harness and Fuel Pump Cable
- Tempomat (Cruise Control)
- Additional Parts Taxi
- Antenna
- Auto Pilot System (Aps)
- Autotelephone
- Belt Locking Retractor, Airbag and Sidebag
- Burglary Alarm System and Infrared Closing System
- Cable Cover and Cable Ducts
- Cable Harness for Radio, Loudspeaker and CD-Player
- Car Phone, Voice Control System and Distress Call
- Comfort Control
- Communication and Navigation System (Cns)
- Cool Box
- Curtain and Roller Blind, Rear Window
- Distress Alarm System
- Door Cable Harnesses & Protective Hoses
- Electric Front Seat Adjustment
- Electric Rear Seat Adjustment
- Electric Sliding Roof
- Headlamp Wiper/Washer
- Infra-Red Closing System
- Interior Lamps
- Interior Lamps, Rear Cigar Lighter Cable Harness
- Light Range Adjuster Electric
- Lighting Unit
- Mirror/Steering-Column Adjustment, and Driver Memory
- Pane Wiper
- Parktronic System (Pts)
- Power Closing System
- Radio Set, Remote Control, Amplifier, CD-Player, Loudspeaker
- Rear Lamps, Additional Stop Light, and License Plate Lamp
- Seat Heating
- Switch
- Telefax
- Curtain
- Detachable Components, Instrument Panel
- Front Panel Pillar Panelling, Lining on Floor and Footrest
- Glove Compartment and Spectacle Shelf in Instrument Panel
- Hat Tray, Roller Blind, First Aid Box
- Housing with Tray, Armrest, and Ashtray
- Instrument Panel & Body Parts Used for Co-Driver Airbag
- Insulation in Engine Compartment, on Roof Rail and Rear End Pillar
- Insulation in Passenger and Luggae Compartment
- Wood Covering in Housing with Tray, One-Part
- Wood Covering in Housing with Tray, One-Part L. H. D
- Wood Covering in Housing with Tray, One-Part R. H. D
- Wood Covering in Housing with Tray, Two-Part
- Air Conditioner
- Airbag Driver Side
- Antitheft Alarm System
- Auto Pilot System (Aps)
- Autotelephone, Mercedes-Benz Version
- Closing System with Infrared Remote Control
- Co-Driver Air Bag
- Driver and Co-Driver Air Bags
- Front Orthopaedic Backrest
- Headlamp Wiper/Washer
- Headlamp-Xenon
- Independent Heating
- Interior Safeguard
- Language Control System
- Pennant
- Power Closing System
- Radio Set and Compact Disc Changer
- Radio Set-Antenna
- Radio Set-Loudspeaker
- Rear Lid Additional Locking Mechanism
- Rear Orthopaedic Backrest
- Rear Window Electric Roller Blind
- Seat Heating
- Second Battery
- Tempomat (Cruise Control)
- Trailer Coupling
- Front Springs and Suspension with, or Less, Adaptive Damping System
- Front Torsion Bar-Standard Suspension
- Hydraulic Line Mounting Parts
- Line Arrangement in Case of Self-Levelling Device & a S D
- Oil Tank & Valves of Self-Levellingdevice Hydraulic System, a S D
- Rear Line Arrangement in Case of Adaptive Damping System
- Rear Springs & Suspension Used with Self-Levelling Device & a D S
- Rear Springs and Suspension Standard Suspension
- Rear Torsion Bar & Height Control Valve Used Self-Levellingdevice
- Rear Torsion Bar-Standard Spring Suspension
- Regulation of Dynamic Headlamp Range Control, Front
- Regulation of Dynamic Headlamp Range Control, Rear
- Back-Up Aid
- Central Locking System
- Engine Vacuum Connection
- Engine Vacuum Connection and Light Range Regulator
- Flush Fitted Rear Lid Handle
- Heating/Automatic-Air-Conditioner Vacuum Parts
- Lumbar Vertebra Support and Multicontour Backrest
- Power Closing System
- Rear Headrest Adjustment
- Vacuum Parts for Shiftpoint Retard
- Vacuum Parts, 2 Selection Programs
- Vacuum Pump and Valve Block
- Acceleration Skid Control (Asr)
- Adaptive Damping System (Ads)
- Apparatus Case and Control Units
- Auxiliary Heater
- Battery, Starter/Alternator Cable
- Brake Pad Wear Indicator, Abs, Asd and Electronic Traction System
- Cable Harness Belt Warning
- Cockpit Cable Harness
- Corresponding Cable Harness, in Apparatus Case
- Electric Cable Used for Rear Space Air Conditioner
- Electrical Parts Used for Transmission
- Electronic Stability Program (ESP®)
- Engine Cable Harness
- Engine Cable Harness, Body Mounted
- Frame Floor Unit Main Cable Harness
- Fuse Box and Relay
- Headlamp Cable Harness
- Horn
- Ignition System
- Inboard Cable Harness & Belt Warning Device
- Instrument Cluster
- Loom Ties and Cable Mounting Parts
- On-Board Computer
- Overheat Warning Indicator and Belt Warning
- Parametric Steering
- Rear Axle Wiring
- Tail Lamp Cable Harness and Fuel Pump Cable
- Tempomat (Cruise Control)
- Additional Parts Taxi
- Antenna
- Auto Pilot System (Aps)
- Autotelephone
- Belt Locking Retractor, Airbag and Sidebag
- Burglary Alarm System and Infrared Closing System
- Cable Cover and Cable Ducts
- Cable Harness for Radio, Loudspeaker and CD-Player
- Car Phone, Voice Control System and Distress Call
- Comfort Control
- Communication and Navigation System (Cns)
- Cool Box
- Curtain and Roller Blind, Rear Window
- Distress Alarm System
- Door Cable Harnesses & Protective Hoses
- Electric Front Seat Adjustment
- Electric Rear Seat Adjustment
- Electric Sliding Roof
- Headlamp Wiper/Washer
- Infra-Red Closing System
- Interior Lamps
- Interior Lamps, Rear Cigar Lighter Cable Harness
- Light Range Adjuster Electric
- Lighting Unit
- Mirror/Steering-Column Adjustment, and Driver Memory
- Pane Wiper
- Parktronic System (Pts)
- Power Closing System
- Radio Set, Remote Control, Amplifier, CD-Player, Loudspeaker
- Rear Lamps, Additional Stop Light, and License Plate Lamp
- Seat Heating
- Switch
- Telefax
- Curtain
- Detachable Components, Instrument Panel
- Front Panel Pillar Panelling, Lining on Floor and Footrest
- Glove Compartment and Spectacle Shelf in Instrument Panel
- Hat Tray, Roller Blind, First Aid Box
- Housing with Tray, Armrest, and Ashtray
- Instrument Panel & Body Parts Used for Co-Driver Airbag
- Insulation in Engine Compartment, on Roof Rail and Rear End Pillar
- Insulation in Passenger and Luggae Compartment
- Wood Covering in Housing with Tray, One-Part
- Wood Covering in Housing with Tray, One-Part L. H. D
- Wood Covering in Housing with Tray, One-Part R. H. D
- Wood Covering in Housing with Tray, Two-Part
- Air Conditioner
- Airbag Driver Side
- Antitheft Alarm System
- Auto Pilot System (Aps)
- Autotelephone, Mercedes-Benz Version
- Closing System with Infrared Remote Control
- Co-Driver Air Bag
- Driver and Co-Driver Air Bags
- Front Orthopaedic Backrest
- Headlamp Wiper/Washer
- Headlamp-Xenon
- Independent Heating
- Interior Safeguard
- Language Control System
- Pennant
- Power Closing System
- Radio Set and Compact Disc Changer
- Radio Set-Antenna
- Radio Set-Loudspeaker
- Rear Lid Additional Locking Mechanism
- Rear Orthopaedic Backrest
- Rear Window Electric Roller Blind
- Seat Heating
- Second Battery
- Tempomat (Cruise Control)
- Trailer Coupling
- Front Springs and Suspension with, or Less, Adaptive Damping System
- Front Torsion Bar-Standard Suspension
- Hydraulic Line Mounting Parts
- Line Arrangement in Case of Self-Levelling Device & a S D
- Oil Tank & Valves of Self-Levellingdevice Hydraulic System, a S D
- Rear Line Arrangement in Case of Adaptive Damping System
- Rear Springs & Suspension Used with Self-Levelling Device & a D S
- Rear Springs and Suspension Standard Suspension
- Rear Torsion Bar & Height Control Valve Used Self-Levellingdevice
- Rear Torsion Bar-Standard Spring Suspension
- Regulation of Dynamic Headlamp Range Control, Front
- Regulation of Dynamic Headlamp Range Control, Rear
- Back-Up Aid
- Central Locking System
- Engine Vacuum Connection
- Engine Vacuum Connection and Light Range Regulator
- Flush Fitted Rear Lid Handle
- Heating/Automatic-Air-Conditioner Vacuum Parts
- Lumbar Vertebra Support and Multicontour Backrest
- Power Closing System
- Rear Headrest Adjustment
- Vacuum Parts for Shiftpoint Retard
- Vacuum Parts, 2 Selection Programs
- Vacuum Pump and Valve Block
Browse Categories
Select category
- Acceleration Skid Control (Asr)
- Adaptive Damping System (Ads)
- Apparatus Case and Control Units
- Auxiliary Heater
- Battery, Starter/Alternator Cable
- Brake Pad Wear Indicator, Abs, Asd and Electronic Traction System
- Cable Harness Belt Warning
- Cockpit Cable Harness
- Corresponding Cable Harness, in Apparatus Case
- Electric Cable Used for Rear Space Air Conditioner
- Electrical Parts Used for Transmission
- Electronic Stability Program (ESP®)
- Engine Cable Harness
- Engine Cable Harness, Body Mounted
- Frame Floor Unit Main Cable Harness
- Fuse Box and Relay
- Headlamp Cable Harness
- Horn
- Ignition System
- Inboard Cable Harness & Belt Warning Device
- Instrument Cluster
- Loom Ties and Cable Mounting Parts
- On-Board Computer
- Overheat Warning Indicator and Belt Warning
- Parametric Steering
- Rear Axle Wiring
- Tail Lamp Cable Harness and Fuel Pump Cable
- Tempomat (Cruise Control)
- Additional Parts Taxi
- Antenna
- Auto Pilot System (Aps)
- Autotelephone
- Belt Locking Retractor, Airbag and Sidebag
- Burglary Alarm System and Infrared Closing System
- Cable Cover and Cable Ducts
- Cable Harness for Radio, Loudspeaker and CD-Player
- Car Phone, Voice Control System and Distress Call
- Comfort Control
- Communication and Navigation System (Cns)
- Cool Box
- Curtain and Roller Blind, Rear Window
- Distress Alarm System
- Door Cable Harnesses & Protective Hoses
- Electric Front Seat Adjustment
- Electric Rear Seat Adjustment
- Electric Sliding Roof
- Headlamp Wiper/Washer
- Infra-Red Closing System
- Interior Lamps
- Interior Lamps, Rear Cigar Lighter Cable Harness
- Light Range Adjuster Electric
- Lighting Unit
- Mirror/Steering-Column Adjustment, and Driver Memory
- Pane Wiper
- Parktronic System (Pts)
- Power Closing System
- Radio Set, Remote Control, Amplifier, CD-Player, Loudspeaker
- Rear Lamps, Additional Stop Light, and License Plate Lamp
- Seat Heating
- Switch
- Telefax
- Curtain
- Detachable Components, Instrument Panel
- Front Panel Pillar Panelling, Lining on Floor and Footrest
- Glove Compartment and Spectacle Shelf in Instrument Panel
- Hat Tray, Roller Blind, First Aid Box
- Housing with Tray, Armrest, and Ashtray
- Instrument Panel & Body Parts Used for Co-Driver Airbag
- Insulation in Engine Compartment, on Roof Rail and Rear End Pillar
- Insulation in Passenger and Luggae Compartment
- Wood Covering in Housing with Tray, One-Part
- Wood Covering in Housing with Tray, One-Part L. H. D
- Wood Covering in Housing with Tray, One-Part R. H. D
- Wood Covering in Housing with Tray, Two-Part
- Air Conditioner
- Airbag Driver Side
- Antitheft Alarm System
- Auto Pilot System (Aps)
- Autotelephone, Mercedes-Benz Version
- Closing System with Infrared Remote Control
- Co-Driver Air Bag
- Driver and Co-Driver Air Bags
- Front Orthopaedic Backrest
- Headlamp Wiper/Washer
- Headlamp-Xenon
- Independent Heating
- Interior Safeguard
- Language Control System
- Pennant
- Power Closing System
- Radio Set and Compact Disc Changer
- Radio Set-Antenna
- Radio Set-Loudspeaker
- Rear Lid Additional Locking Mechanism
- Rear Orthopaedic Backrest
- Rear Window Electric Roller Blind
- Seat Heating
- Second Battery
- Tempomat (Cruise Control)
- Trailer Coupling
- Front Springs and Suspension with, or Less, Adaptive Damping System
- Front Torsion Bar-Standard Suspension
- Hydraulic Line Mounting Parts
- Line Arrangement in Case of Self-Levelling Device & a S D
- Oil Tank & Valves of Self-Levellingdevice Hydraulic System, a S D
- Rear Line Arrangement in Case of Adaptive Damping System
- Rear Springs & Suspension Used with Self-Levelling Device & a D S
- Rear Springs and Suspension Standard Suspension
- Rear Torsion Bar & Height Control Valve Used Self-Levellingdevice
- Rear Torsion Bar-Standard Spring Suspension
- Regulation of Dynamic Headlamp Range Control, Front
- Regulation of Dynamic Headlamp Range Control, Rear
- Back-Up Aid
- Central Locking System
- Engine Vacuum Connection
- Engine Vacuum Connection and Light Range Regulator
- Flush Fitted Rear Lid Handle
- Heating/Automatic-Air-Conditioner Vacuum Parts
- Lumbar Vertebra Support and Multicontour Backrest
- Power Closing System
- Rear Headrest Adjustment
- Vacuum Parts for Shiftpoint Retard
- Vacuum Parts, 2 Selection Programs
- Vacuum Pump and Valve Block
- Acceleration Skid Control (Asr)
- Adaptive Damping System (Ads)
- Apparatus Case and Control Units
- Auxiliary Heater
- Battery, Starter/Alternator Cable
- Brake Pad Wear Indicator, Abs, Asd and Electronic Traction System
- Cable Harness Belt Warning
- Cockpit Cable Harness
- Corresponding Cable Harness, in Apparatus Case
- Electric Cable Used for Rear Space Air Conditioner
- Electrical Parts Used for Transmission
- Electronic Stability Program (ESP®)
- Engine Cable Harness
- Engine Cable Harness, Body Mounted
- Frame Floor Unit Main Cable Harness
- Fuse Box and Relay
- Headlamp Cable Harness
- Horn
- Ignition System
- Inboard Cable Harness & Belt Warning Device
- Instrument Cluster
- Loom Ties and Cable Mounting Parts
- On-Board Computer
- Overheat Warning Indicator and Belt Warning
- Parametric Steering
- Rear Axle Wiring
- Tail Lamp Cable Harness and Fuel Pump Cable
- Tempomat (Cruise Control)
- Additional Parts Taxi
- Antenna
- Auto Pilot System (Aps)
- Autotelephone
- Belt Locking Retractor, Airbag and Sidebag
- Burglary Alarm System and Infrared Closing System
- Cable Cover and Cable Ducts
- Cable Harness for Radio, Loudspeaker and CD-Player
- Car Phone, Voice Control System and Distress Call
- Comfort Control
- Communication and Navigation System (Cns)
- Cool Box
- Curtain and Roller Blind, Rear Window
- Distress Alarm System
- Door Cable Harnesses & Protective Hoses
- Electric Front Seat Adjustment
- Electric Rear Seat Adjustment
- Electric Sliding Roof
- Headlamp Wiper/Washer
- Infra-Red Closing System
- Interior Lamps
- Interior Lamps, Rear Cigar Lighter Cable Harness
- Light Range Adjuster Electric
- Lighting Unit
- Mirror/Steering-Column Adjustment, and Driver Memory
- Pane Wiper
- Parktronic System (Pts)
- Power Closing System
- Radio Set, Remote Control, Amplifier, CD-Player, Loudspeaker
- Rear Lamps, Additional Stop Light, and License Plate Lamp
- Seat Heating
- Switch
- Telefax
- Curtain
- Detachable Components, Instrument Panel
- Front Panel Pillar Panelling, Lining on Floor and Footrest
- Glove Compartment and Spectacle Shelf in Instrument Panel
- Hat Tray, Roller Blind, First Aid Box
- Housing with Tray, Armrest, and Ashtray
- Instrument Panel & Body Parts Used for Co-Driver Airbag
- Insulation in Engine Compartment, on Roof Rail and Rear End Pillar
- Insulation in Passenger and Luggae Compartment
- Wood Covering in Housing with Tray, One-Part
- Wood Covering in Housing with Tray, One-Part L. H. D
- Wood Covering in Housing with Tray, One-Part R. H. D
- Wood Covering in Housing with Tray, Two-Part
- Air Conditioner
- Airbag Driver Side
- Antitheft Alarm System
- Auto Pilot System (Aps)
- Autotelephone, Mercedes-Benz Version
- Closing System with Infrared Remote Control
- Co-Driver Air Bag
- Driver and Co-Driver Air Bags
- Front Orthopaedic Backrest
- Headlamp Wiper/Washer
- Headlamp-Xenon
- Independent Heating
- Interior Safeguard
- Language Control System
- Pennant
- Power Closing System
- Radio Set and Compact Disc Changer
- Radio Set-Antenna
- Radio Set-Loudspeaker
- Rear Lid Additional Locking Mechanism
- Rear Orthopaedic Backrest
- Rear Window Electric Roller Blind
- Seat Heating
- Second Battery
- Tempomat (Cruise Control)
- Trailer Coupling
- Front Springs and Suspension with, or Less, Adaptive Damping System
- Front Torsion Bar-Standard Suspension
- Hydraulic Line Mounting Parts
- Line Arrangement in Case of Self-Levelling Device & a S D
- Oil Tank & Valves of Self-Levellingdevice Hydraulic System, a S D
- Rear Line Arrangement in Case of Adaptive Damping System
- Rear Springs & Suspension Used with Self-Levelling Device & a D S
- Rear Springs and Suspension Standard Suspension
- Rear Torsion Bar & Height Control Valve Used Self-Levellingdevice
- Rear Torsion Bar-Standard Spring Suspension
- Regulation of Dynamic Headlamp Range Control, Front
- Regulation of Dynamic Headlamp Range Control, Rear
- Back-Up Aid
- Central Locking System
- Engine Vacuum Connection
- Engine Vacuum Connection and Light Range Regulator
- Flush Fitted Rear Lid Handle
- Heating/Automatic-Air-Conditioner Vacuum Parts
- Lumbar Vertebra Support and Multicontour Backrest
- Power Closing System
- Rear Headrest Adjustment
- Vacuum Parts for Shiftpoint Retard
- Vacuum Parts, 2 Selection Programs
- Vacuum Pump and Valve Block
5
- WindshieldMercedes-BenzCrystal clear. (Unavailable)
- WindshieldMercedes-BenzTransparent, with window. (Unavailable)
- WindshieldMercedes-BenzGreen heat-absorbing glass. With sun filter and inspection window. (Unavailable)
- WindshieldMercedes-BenzGreen heat-absorbing glass. With sun filter. (Unavailable)
- $535.62WindshieldMercedes-BenzGreen heat-absorbing glass. With sun filter,for rain sensor.
-
See more products
No.
Part # / Description / Price
Price
5
Windshield
Mercedes-Benz
Mercedes-Benz Notes: NO LONGER AVAILABLE
IF NOT REQUIRED COAT INSPECTION GLASS WITH GLASS PRIMER
ORDER ADDITIONALLY ALSO: 129 584 20 38
IF NOT REQUIRED COAT INSPECTION GLASS WITH GLASS PRIMER
ORDER ADDITIONALLY ALSO: 129 584 20 38
Description: Transparent, with window.
5
Windshield
Mercedes-Benz
Mercedes-Benz Notes: IF NOT REQUIRED COAT INSPECTION GLASS WITH GLASS PRIMER
Description: Green heat-absorbing glass. With sun filter and inspection window.
5
5
Windshield
Mercedes-Benz
Mercedes-Benz Notes: IF NOT REQUIRED COAT INSPECTION GLASS WITH GLASS PRIMER
Description: Green heat-absorbing glass. With sun filter,for rain sensor.
5
5
Windshield
Mercedes-Benz
Mercedes-Benz Notes: IF NOT REQUIRED COAT INSPECTION GLASS WITH GLASS PRIMER
Description: Green heat-absorbing glass. With sun filter and inspection window.
5
Windshield
Mercedes-Benz
Mercedes-Benz Notes: NO LONGER AVAILABLE
ORDER ADDITIONALLY ALSO: 129 584 20 38
ORDER ADDITIONALLY ALSO: 129 584 20 38
Description: Green heat-absorbing glass. With sun filter and inspection window.
5
5
Windshield
Mercedes-Benz
Mercedes-Benz Notes: IF NOT REQUIRED COAT INSPECTION GLASS WITH GLASS PRIMER
Description: Green heat-absorbing glass. With sun filter,for rain sensor.
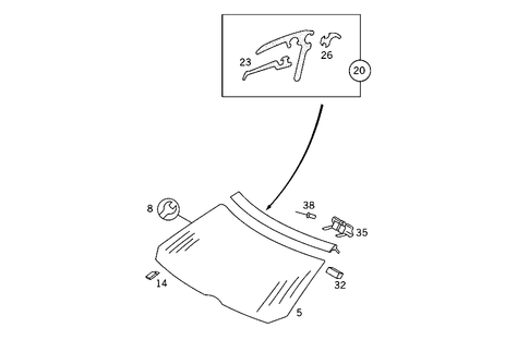
8
8
14
Intermediate Layer
Mercedes-Benz
Mercedes-Benz Description: Window installation. 14 x 8 x 5 mm. Garnish moulding to body,bottom. 14 x 8 x 5 mm. Between cross member and windscreen. 14 x 8 x 5 mm. Rear panel door window. 14 x 8 x 5 mm. Window support to body. 14 x 8 x 5 mm. Left window. 14 X 8 X 5 MM. Windshield support to roof frame top. 14 x 8 x 5 mm.
MSRP $4.40
$3.12
MSRP $4.40
$3.12
17
Identification Plate
Mercedes-Benz
Mercedes-Benz Notes: THEFT-RELEVANT PART
TO BE ORDERED ONLY ON COMMISION AND INDICATING ALSO ALL THE VEHICLE DATA REQUIRED TO BE ORDERED ONLY ON COMMISION AND INDICATING ALSO ALL THE VEHICLE DATA REQUIRED
TO BE ORDERED ONLY ON COMMISION AND INDICATING ALSO ALL THE VEHICLE DATA REQUIRED TO BE ORDERED ONLY ON COMMISION AND INDICATING ALSO ALL THE VEHICLE DATA REQUIRED
Description: For great britain. Ident no. (airbag). Below windshield.
17
Identification Label
Mercedes-Benz
Mercedes-Benz Notes: THEFT-RELEVANT PART
Description: Identification sign. Ident no. Below windshield,left. At crossmember under windshield.
17
Plate
Mercedes-Benz
Mercedes-Benz Notes: FIRST EXHAUST STOCK OF OLD PARTS UP TO IDENT NO. A 336001
THEFT-RELEVANT PART
THEFT-RELEVANT PART
Description: (airbag). For great britain.
18
23
Cover, Roll Bar
Mercedes-Benz
Mercedes-Benz Notes: ORDER BY THE METER
Description: Under garnish moulding. 1,27 m.
MSRP $11.50
$8.27
MSRP $11.50
$8.27
26
Foot-Well Cover
Mercedes-Benz
Mercedes-Benz Notes: ORDER BY THE METER
Description: 1,266 m. Under mounting clip 160 mm. Ornamental frames,seals "1116,4 mm".
32
Intermediate Layer
Mercedes-Benz
Mercedes-Benz Description: Support between body and windshield. Support between crossmember and windshield. Rear window top. Support between body and rear window. Chafe protection. Windshield,lower left and right.
MSRP $4.90
$3.48
MSRP $4.90
$3.48
35
MSRP $2.00
$1.44
38
Rivet
Mercedes-Benz
Mercedes-Benz Description: Garnish moulding to rear door edge. 3.2 x 5.89
diameter: 3,2mm. (water deflector) at front wall pillar, left. 3.2 x 5.89
diameter: 3,2mm. For trim strip to windshield. 3.2 x 5.89
diameter: 3,2mm. Garnish moulding to front door. 3.2 x 5.89
diameter: 3,2mm. Windshield upper garnish moulding. 3.2 x 5.89
diameter: 3,2mm.
diameter: 3,2mm. (water deflector) at front wall pillar, left. 3.2 x 5.89
diameter: 3,2mm. For trim strip to windshield. 3.2 x 5.89
diameter: 3,2mm. Garnish moulding to front door. 3.2 x 5.89
diameter: 3,2mm. Windshield upper garnish moulding. 3.2 x 5.89
diameter: 3,2mm.
MSRP $4.40
$3.12
MSRP $4.40
$3.12
No.
Part # / Description / Price
Price
5
Windshield
Mercedes-Benz
Mercedes-Benz Notes: UP TO END OF MODEL YEAR 95
Description: Green heat-absorbing glass. With sun filter and inspection window.